TESLA Harmonie II - zmena v zapojeni
TESLA Harmonie II - zmena v zapojeni
Zrovna se v tom radiu vrtam.
U meho je konec sekundaru vystupaku pripojen na kostru.
Pritom by mel byt na C36 a R23. Ja mam ty vyvody C36 a R23 k sekundaru nepripojeny.
V Kottkovi takova zmena neni v textu uvedena.
Kdo by mel povedomost, zda je to z vyroby nebo nejaka novodobejsi uprava? Ale dle stavu pajenych spoju, bych spis rekl, ze je to z vyroby.
U meho je konec sekundaru vystupaku pripojen na kostru.
Pritom by mel byt na C36 a R23. Ja mam ty vyvody C36 a R23 k sekundaru nepripojeny.
V Kottkovi takova zmena neni v textu uvedena.
Kdo by mel povedomost, zda je to z vyroby nebo nejaka novodobejsi uprava? Ale dle stavu pajenych spoju, bych spis rekl, ze je to z vyroby.
Re: TESLA Harmonie II - zmena v zapojeni
Výše popsaná úprava se v sériové výrobě nikdy nepoužívala. VT má sekundár rozdělený na dvě sekce, jedna část vinutí je zapojena přímo na kostru a druhá pak na RC člen záporné zpětné vazby začínající spojem R23, C26, což upravuje nf šíři pásma, o něco málo zmenšuje zesílení, zkreslení a zvyšuje stabilitu. Pokud se v přijímači někdo vrtal tak to nezapojil. Další důvod může být také ten, že se o něco zvýší zesílení a rozšíří nf pásmo. Nebo někdo vyměnil trafo a nevěděl jak zapojit vinutí. Při nesprávném zapojení dojde k rozkmitání zesilovače, namísto záporné zpětné vazby vznikne nf oscilátor s kladnou zv...
Re: TESLA Harmonie II - zmena v zapojeni
Ahoj,
diky moc za odpoved.
Zitra zkusim dat fotku toho vystupaku. Ty vyvody fakt vypadaji jak po opusteni fabriky.
Hledal jsem fotky spodku radia, neni jich na netu moc.
Nasel jsem jednu, co ma stejne usporadani soucastek okolo prepinace P3 jako moje radio.
P3 je vpravo. Poradi soucastek od predniho cela:
placaty C35
R23
asfaltovy C37
zde je odkaz na foto jineho kusu
diky moc za odpoved.
Zitra zkusim dat fotku toho vystupaku. Ty vyvody fakt vypadaji jak po opusteni fabriky.
Hledal jsem fotky spodku radia, neni jich na netu moc.
Nasel jsem jednu, co ma stejne usporadani soucastek okolo prepinace P3 jako moje radio.
P3 je vpravo. Poradi soucastek od predniho cela:
placaty C35
R23
asfaltovy C37
zde je odkaz na foto jineho kusu
Re: TESLA Harmonie II - zmena v zapojeni
Tady je foto vystupaku.
Zespod jsou videt 4 draty sekundaru. 2 z nich jsou pres pajeci ocko na trafu spojene s kostrou.
Zespod jsou videt 4 draty sekundaru. 2 z nich jsou pres pajeci ocko na trafu spojene s kostrou.
Re: TESLA Harmonie II - zmena v zapojeni
Samozřejmě by byl nesmysl, kdyby výrobce osadil všechny součástky kolem zabarvení zvuku a nedal tam jeden drátek, jó kdyby to bylo dnes, Číňan by vyřadil všechny součástky, jen ten drátek by tam zůstal.
To propojení je provedeno na elektronkový přijímač nesmírně tenkým drátkem takže stačí při opravě neopatrný pohyb a drátek je fuč a poté na spájeném spoji ani neni pohledově nic vidět.
To propojení je provedeno na elektronkový přijímač nesmírně tenkým drátkem takže stačí při opravě neopatrný pohyb a drátek je fuč a poté na spájeném spoji ani neni pohledově nic vidět.
Re: TESLA Harmonie II - zmena v zapojeni
Ano dva jsou spojeny s kostrou.
Re: TESLA Harmonie II - zmena v zapojeni
Diky Lubosi,
projdu to znova dle tveho rozkresu soucastek.
Ten jsem nemel. Dost mi to pomuze.
Predpokladam, ze tenhle stripek nebude takovy orisek, mysi v tom asi neradili, i kdyz zabordelene bylo uvnitr dost.
projdu to znova dle tveho rozkresu soucastek.
Ten jsem nemel. Dost mi to pomuze.
Predpokladam, ze tenhle stripek nebude takovy orisek, mysi v tom asi neradili, i kdyz zabordelene bylo uvnitr dost.
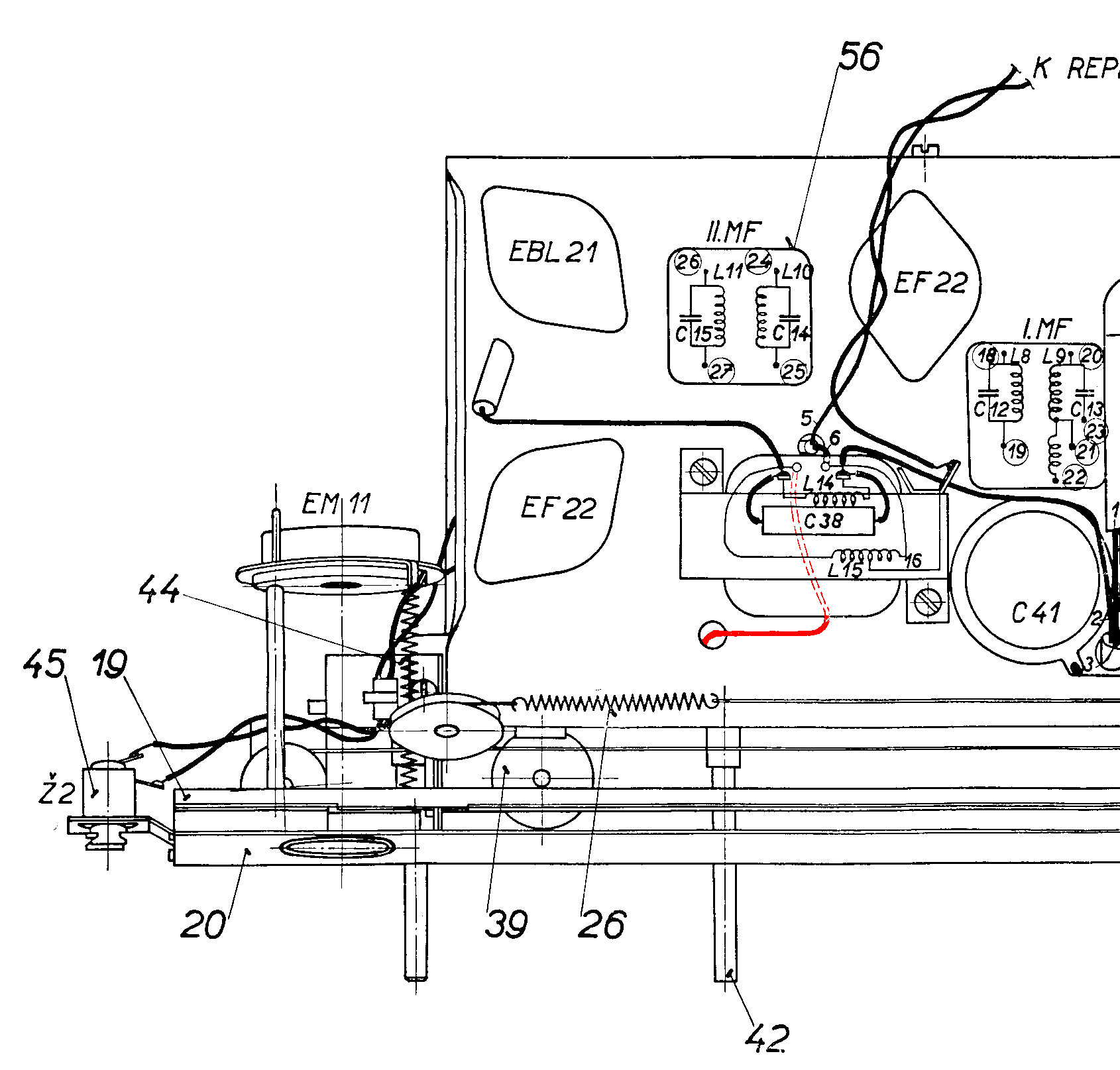
Re: TESLA Harmonie II - zmena v zapojeni
Tak jsem to jeste porovnal s temi podklady od Lubose.
Zmatl me volny pin na P3, kde je krajni pin (oznacil jsem ho bilou sipkou) s C36 a ten kontakt je zkraceny a nema kontakt s otocnym kontaktnim stredem P3. Tam pripojim vyvod sekundaru vystupaku.
V cervenem krouzku mam kontakt P3, kde jsem zjistil, ze v radiu chybi propojka na druhy konec C36!
Nevypada to, ze by tam bylo nekdy neco pripajeno.
Zmatl me volny pin na P3, kde je krajni pin (oznacil jsem ho bilou sipkou) s C36 a ten kontakt je zkraceny a nema kontakt s otocnym kontaktnim stredem P3. Tam pripojim vyvod sekundaru vystupaku.
V cervenem krouzku mam kontakt P3, kde jsem zjistil, ze v radiu chybi propojka na druhy konec C36!
Nevypada to, ze by tam bylo nekdy neco pripajeno.